Änderungen an meiner BMW R80GS
Thema Gabel
Die Gabel ist leider serienmäßig sehr mäßig: miese Dämpfung,
mäßiges Ansprechen, trotz
div. Ölsorten- und Ölstandsexperimente. Schlechter wie die gute alte XT
(und die hatte nun wirklich keine high-tech-Gabel).
Die Gabel der Baujahre 91 bis 96 ist in einigen Details anders als die von 88
bis 90 -
und erst recht diejenige der R80 G/S (bis 87).
Hier nun meine eigenen Erfahrungen - zwei Ansätze zur Verbesserung.
Wirth-Federn (2003)
- schon ein wenig besser, aber immer noch schlechter wie die XT.
- Nachtrag Nov. 2006: im HPN-Forum gibt es Leute, die sagen, daß bei den
Wirth-Federn beim vollen Einfedern die Windungen aufeinanderschlagen - das
wäre dann eine glatte Fehlkonstuktion. Ich kann dazu nix mehr sagen.
Kartuschen (2004)
- Infos
im HPN-Forum
- Beschaffung:
- Die sog. "Sportfederung" (Hersteller Marzocchi) war März
2004 problemlos beim
bestellbar.
- Teile Nummern: 2 317 539 und 2 317 540
- "Anbausatz" = Gutachten, Blinkerhalter, Lenkererhöhung
(hatte ich schon), Kleinkram.
- Leistung:
- Jetzt ist die Gabel wirklich eine ganz andere Geschichte! Die
Kanaldeckel in Schräglage und andere ähnliche Sachen auf der
Hausstrecke, die ich vorher zu fürchten gelernt habe, gehen jetzt
wieder.
- Viel feineres Ansprechen, auch bei Kälte.
Tips zur Einbauanleitung (habe ich auch in die
PDF-Datei
eingebracht):
- zum Einbau (Festziehen) sollte man sich einen 32er Ringmaul (flach,
ungekröpft) besorgen, weil die Muttern oben doch sonst schnell
vermurkst aussehen oder sind. Eine 32er Nuß greift nicht voll (Fasen
innen, Mutter ist sehr flach, Blinkerhalter). Am besten, man
schleift diesen
Ringschlüssel noch flach ab.
- Gabelöl zum Einfüllen erwärmen
- Das "Entlüften" (Nr. 27) ist ein echtes Gefummel, weil man
nicht mehr gescheit an die Schrauben rankommt, wenn der Lenker schon
montiert ist. Also davor machen. Der Sinn ist mir übrigens nicht klar.
Woher soll denn da durch den Einbau ein Druckpolster kommen? Es wird
nicht erwähnt, daß man "pumpen" soll.
|
 |
- bei den Kartuschen, so wie ich sie frisch vom BMW-Händler bekam,
war nur bei der einen Seite (leider vergessen, welche...) der in der
Anleitung erwähnte (Bild 17) "Endanschlag" (blaue Aluhülse) dabei.
Ich bin mir heute (2008) nicht sicher, ob das so richtig ist ...
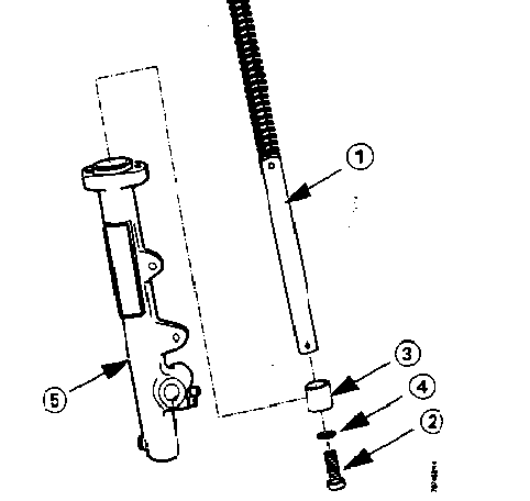
- Text zu Schritt 17 aus der Anleitung:
- Aus der Kartusche (#1) die untere Zentralschraube (#2)
herausdrehen, den Endanschlag (#3) und den Dichtring (#4)
abnehmen. Den Endanschlag mit der großen Öffnung nach oben in
das Gabelgleitrohr (#5) einlegen.
- wenn man die Kartuschen aus der Verpackung nimmt, ist alles
"vormontiert". Bei mir war auf einer Seite eben kein Endanschlag
(#3) dabei. Rechts ein Foto (nicht von mir):
- In Schritt 19 wird dann diese Zentralschraube (#2) und der
Dichtring #4 von außen durch das Gabelgleitrohr wieder mit der
Kartusche im Inneren verschraubt.
Dann heißt es sinngemäß: "Jetzt die Arbeitsschritte 9-19 auf die
linke Gabelseite anwenden."
- Insofern sollte es beidseitig solche Hülsen geben.
- Dafür spricht auch das Foto unten aus dem HPN-Katalog...

|

 |
Setup (März 2004):
- wie schon zuvor mit den Standard- oder Wirth-Federn habe ich ...
- 10W-20 in die Zugstufe
(das ist die Kartusche mit R=Rebound, soll rechts eingebaut werden) und
- 7,5W-15 (= halbe-halbe 5W-10 und 10W-20 gemischt) in die
Druckstufe (C=Compression,
soll nach links)
gegeben, was gut paßt. Aber beim nächsten Gabelölwechsel kommt in beide
10W-20. Dies kann man vermutlich ohne weiteres durch ein paar Klicks weiter öffnen
oder schließen nachregeln und man hat kein
Öl übrig. Mehrbereichsöl verwende ich seit 20 Jahren, ich finde den
Effekt v.a. bei Kälte sehr positiv (leichtes Ansprechen), und
Straffheit im Sommer.
- ich habe die "kurzen" Hülsen (75 mm) belassen (kein PD-Tank, bin
eher Leichtgewicht, kein schweres/schnelles Gelände)
ð
eher
komfortorientiertes, weiches Setup infolge relativ geringer
Vorspannung. Dies bewirkt einen
Negativ-Federweg
von gut 30% (ca. 6 cm), was zwar der reinen Lehre entspricht, aber doch
eine deutliche Reduktion des Netto-Federwegs bedeutet. Ich werde
anläßlich des nächsten Gabelölwechsels mal die längeren Hülsen (85
mm) einbauen. Dann dürfte sich der Negativ-Federweg auf ca. 5 cm
reduzieren (Begründung: Sven hat sich 95er Hülsen gedreht, und damit
sinkt seine Basic ca. 20 mm weniger ein als meine - es scheint sich also
in diesem Bereich ca. 1:1 linear zu verhalten).
Setup Juli 2006:
- von den längeren Vorspannhülsen bin ich mittlerweile abgekommen, weil
ich glaube, daß dann die Fuhre für mein Gewicht einfach vorne zu hoch zu
liegen käme, und somit zuwenig Negativfederweg übrig bliebe.
- Gabelöl jetzt "Fuchs Silkolene Pro RSF 10 WT" in beiden Kartuschen: auf
dieses Öl bin ich durch einen sehr enthusiastischen Test in einem der MO-Sonderhefte gekommen. Dort hat es einer 75/5-Gabel sehr gut getan. Es
hat laut Test einen sehr hohen Viskositätsindex über die Temperatur -
ich habe das so aufgefaßt, daß es ein "normales" 10W-20 Gabelöl deutlich übertrifft.
- Hauptziel war, durch ein zähflüssigeres Öl, welches aber nicht bei
niedrigeren Temperaturen die Gabel total unkomfortabel ansprechen läßt,
in den Verstellbereich der Dämpferelemente zu kommen.
- Fazit: jetzt merkt man in der Tat etwas beim Einstellen mit den
beiden Rädchen! Denn das war bisher nicht zu merken (Blindversuch
durchgeführt). Das heißt also, der Regelbereich der 16 Klicks ist
offenbar für ein 10er (Basis-Viskosität) oder noch härteres Gabelöl ausgelegt.
Es könnte aber immer noch erheblich mehr Effekt spürbar sein, so wie
z.B. am Federbein hinten (WP, und noch mehr Öhlins).
- Außerdem etwas bessere Dämpfung als vorher.
- Beim Gabelölwechsel ist zu beachten, daß sich ein Teil des Öls
(irgendwo zwischen 50 und 100 cm³) innerhalb der Kartuschen befindet
(dorthin wird es nach der "Erstbefüllung" angesaugt). Wenn man einfach
das Öl nur ablaufen läßt, denn wird man nur ca. 300-350 cm³ pro Holm
auffangen. (Auch das Entfernen der Halteschraube ganz unten bewirkt nichts.)
- Abhilfe: man muß tüchtig "pumpen". Dieses "Pumpen" muß intensiver /
öfter erfolgen als bei den normalen Gabel-Innereien.
- Ziel der Genauigkeit bei der Ölfüllmenge ist vor allem die Gleichheit
des verbleibenden Luftpolsters, denn dieses wirkt mit federnd (im
"endlagennahen" Bereich, also progressiv) und sollte daher rechts und links
gleich sein. Daher wird auch immer wieder empfohlen, den "Ölstand" mit dem
Zollstock zu messen.
- Um die Gabelsimmerringe hingegen braucht man sich bei einer leichten
Über-Befüllung noch keine Sorgen zu machen. Nur wenn die Restluft beim
vollen Einfedern gegen 0 ginge, dann könnte das kritisch werden. Aber ich
schätze, dazu müßte man wohl jenseits der 600 cm³ einfüllen ...
Setup August 2008:
- im Vergleich mit einer anderen GS mit ebenfalls Kartuschen ist die meine
weicher, und taucht infolgedessen vor allem beim Bremsen tiefer ein.
Durchschlagen habe ich zwar noch nicht erlebt, aber dennoch kommt nicht nur
mir meine Gabel als mittlerweile etwas zu weich vor.
- Mit Vorspannhülsen würde sich dies auch nicht ändern, lediglich die
"Ausgangshöhe"
- Messungen des Negativ-Federwegs:
- 200 mm Federweg (werden die im Fall der Gabel eigentlich parallel zu den
Standrohren oder "echt", also senkrecht zur Straße, gemessen?)
- Einfedern unter Fahrzeuggewicht alleine: 43 mm
- Einfedern unter Fahrzeug- und Fahrergewicht (= weitere 75 kg, sagen wir
mal zur Hälfte vorne, also 37,5 kg): 55 mm. Also: 37,5 kg bewirken ein
Einfedern um (weitere) 12 mm
- ich tendiere momentan dazu, über den Winter härtere Federn einbauen zu
lassen.
Gabelölwechsel März 2009:
- (Das mit den härtere Federn habe ich verschoben.)
- gefahrene Strecke ca. 12.000 km
- Öl links (Druckstufe): wie neu
- Öl rechts (Zugstufe): ziemlich schwarz, silbriger feiner Abrieb, jedoch
wasserfrei - Ursache ...?
- wieder "Fuchs Silkolene Pro RSF 10 WT" eingefüllt
- bei dieser Gelegenheit habe ich übrigens entdeckt, daß auf beiden Seiten
die blaue Hülse vorhanden war ...
.
Die gute Nachricht daran lautet: ich bin nicht in den letzten 5 Jahren senil
geworden ...
Gabelöl-Vergleich
- Im 2-Ventiler-Forum hat
"riedrider" eine Tabelle erstellt, die endlich mal Zahlen beinhaltet.
Hier ist sie (und
hier als PDF).
- Sortiert nach der Spalte "reported cSt @ 40C centi Stokes", sieht man
ganz beträchtliche Unterschiede zur angegebenen sogenannten "Viskosität"
(2,5 bis 30). Ein weiteres wichtiges Qualitätsmerkmal ist "reported
Viscosity Index (VI)".
Neue Federn März 2011
- um die Gabel etwas härter zu bekommen, habe ich neue progressiv
gewickelte Federn von Wilbers eingebaut. Wilbers-Nummer: 600-114-01.
- Dabei haben wir auch ein paar Messungen gemacht: die Federn wurden von
Hand auf eine Personenwaage zusammengedrückt, ein Holzstab innen als
Führung, und von oben über ein Brett mit Loch belastet. Zugegebenermaßen
eine recht grobe Messungen, aber wir haben jeweils ein paar Meßwerte
gemittelt.
Messungen Rohwerte
|
|
Serie |
Wilbers |
Kartuschen |
|
Länge 0 kg (entspannt) [cm] |
44,8 |
44,8 |
44,5 |
|
Länge 10 kg [cm] |
42,9 |
42,8 |
42,2 |
|
Länge 20 kg [cm] |
40,8 |
40,8 |
40,1 |
- "Serie": Original-Federn (nicht progressiv) aus der ursprünglichen Paralever-Gabel.
- Diese haben dieselbe Länge. Somit sind die Gabelfedern der
Standard-Gabel der Paralever auch in den Kartuschen verwendbar!
- Warum die Hersteller hier getrennte Nummern auflisten, ist mir nicht
ganz klar.
- "Wilbers": die neu gekauften progressiven Wilbers-Federn
- "Kartuschen": die (nicht progressiven) Federn, die zuvor in den Kartuschen drin waren.
|
|
Serie |
Wilbers |
Kartuschen |
|
Differenz 0->10 kg |
1,9 |
2 |
2,3 |
|
Differenz 10->20 kg |
2,1 |
2 |
2,1 |
Daraus errechnete Federrate: Kraft / Weg
|
|
Serie |
Wilbers |
Kartuschen |
|
Federrate 0->10 kg |
5,26 |
5,00 |
4,35 |
|
Federrate 10->20 kg |
4,76 |
5,00 |
4,76 |
|
Federrate gemittelt |
5,00 |
5,00 |
4,50 |
- die Federn, die in meinen Kartuschen verbaut waren, sind also 10%
weicher als die neuen Wilbers, und auch im Vergleich mit den
"Standard-Federn"
- Ursache dafür ist unklar: Ermüdung? Gesetzt?
- Hinweis: die gemessene Federrate der Wilbers ist "der
Anfang". Denn es sind progressive Federn: mit jedem cm wird die
Federrate härter.
Technische Daten der Federn
|
|
Draht-Ø |
Windungsabstand |
|
|
oben |
unten |
|
Serie |
4,45 |
6,60 |
8,60 |
|
Kartuschen |
4,40 |
6,60 |
8,45 |
|
Wilbers |
vor lauter Eifer vergessen zu messen... |
Fazit
- die in meinen (!) Kartuschen ausgelieferten Federn haben eine um 10%
geringere Federrate als die serienmäßigen und die neu gekauften Wilbers
- sie sind im entlasteten Zustand um 3 mm kürzer als originale - haben sie
sich gesetzt?
- auf jeden Fall ist somit klar, warum meine Kartuschen-Gabel recht weich
war.
Neues Setup
- 10 mm mehr Vorspannung bewirkt ca. 10 mm höhere Lage
- Vorspannhülsen nach reiflicher Überlegung auf 75 mm belassen: von der
Federhärte her war zu erwarten, daß dann, wenn die Gabel vorher 100 mm
eintauchen würde, sie jetzt nur noch 90 mm eintauchen dürfte. Noch mehr wäre
mir zuviel.
- die 75 mm Vorspannhülse bewirkt eine Kompression der Feder von 44,8 auf 41,7
cm - also etwa um 3 cm oder 15 kg Vorspannung
- Meßergebnisse "Einsacken vorne" (gemessen parallel zur Gabel, nicht
senkrecht):
| |
Vorspann-hülsen |
Tank (kg) + ggf. Verkleidung*** |
nur Moto
** |
Gewicht Fahrer kpl.* |
Moto + Fahrer (zusätzl.) |
Negativ-Federweg |
| Meine, 2009 |
75 |
20 |
43 |
80 |
12 |
55 |
| Meine, 2011, Kartuschenfedern original |
75 |
20 |
36 |
80 |
20 |
56 |
| Meine, 2011, neue Wilbers-Federn |
75 |
20 |
27 |
80 |
13 |
40 |
| Meine, 2011, neue Wilbers-Federn |
65 |
20 |
45 |
80 |
14 |
59 |
| GS #1
(Zorro) |
75 |
23 |
35 |
125 |
30 |
65 |
| GS #2
(Bertl) |
95 |
24 |
20 |
125 |
21 |
41 |
|
G/S mit GS-Gabel (Uwe01) |
84 |
25 |
32 |
95 |
24 |
56 |
|
GS #3 (Uwe01) |
84 |
24 |
29 |
95 |
17 |
46 |
|
GS #4 (KlausS) |
75 |
23 |
35 |
90 |
20 |
55 |
| Basic mit 32 l PD-Tank |
96 |
25 |
21 |
100 |
13 |
34 |
| PD Classic |
98 |
20 |
21 |
100 |
? |
? |
* eine vernünftige Annahme ist, daß ca. 50% (eher weniger) des
Fahrergewichts vorne wirksam werden
** Übrigens ist die Radlast vorne bei
einer GS mit dem 26l-Tank, aber ohne Verkleidung ca. 100 kg.
*** Tankgewicht: Benzin ca. 0,8 kg/l
Anmerkungen zum Messen: es ist besonders bei Kälte recht fehleranfällig.
Immer mehrere Male die Gabel "bockern" und Mittelwert bilden.
- Von der Härte her hätte ich auch die "Standard-Federn" nehmen können,
aber die Wilbers sind progressiv.
- Fahrverhalten: Erfolg! Sackt deutlich weniger ein beim Bremsen. Etwas
härteres Gefühl auf meiner Test-Buckelpiste. Sonstiges Verhalten soweit ich
heute testen konnte, wie zuvor.
Zu hart? - Vorspannhülsen gekürzt auf 65 mm
(Juni 2011)
- die erste längere Tour zeigte dann aber eine Unart auf, die ich bisher
noch nie beobachtet hatte: Lenkerflattern um die 60 km/h (Shimmy). Zwar nur wenn kurz
die Hände vom Lenker, aber eben doch unschön. Luftdruck war korrekt,
Profiltiefe auch - als Ursache vermutete ich also die härteren
Federn (bzw. der geringere Negativfederweg).
(aber später zeigte sich, daß die eigentliche Ursache für das Pendeln
Spiel im Lenkkopflager war...!)
- aber zurück zur anfänglichen Vermutung, deren Logik an sich nicht
vollkommen falsch ist:
- von dem "weichen Beginn" der progressiven Feder wird vermutlich
recht viel durch die Vorspannung (3 cm = 15 kg) aufgezehrt. Lösung könnte
also sein, die Vorspannung um 1 cm zu reduzieren, und somit beim
Negativfederweg in etwa dorthin zu kommen, wo ich vorher war (ca. 1 cm
tiefer).
- Das starke Bremseintauchen, was mich zuvor gestört hat, sollte dann
durch die Progression der Federn aufgefangen werden, dem "härteren
Ende".
|
- Gesagt, getan - aus zölligem Rohr 2 neue Distanzhülsen angefertigt,
Länge 65 mm (vorher 75 mm). Und nochmal Gabelöl raus, Kartuschen raus ...

- Effekt:
- siehe Tabelle oben. Insgesamt wieder recht tiefes
Einsinken in Ruhelage, und zwar schon ohne Fahrer, also allein durch die ca.
knapp 100 kg Radlast vorne. Die 40kg von
mir (angenommen 50% meiner 80 kg) bewirken dann nur wenig zusätzliches
Einsinken. (Auch hier wirkt vielleicht schon die Progression.)
- beim Bremsen sinkt die Fuhre dennoch nicht so tief wir früher ein - die
Progression ist also durchaus wirksam, die Federn als solche "bringen's".
- "Entspann dich":
- Im übrigen habe ich danach nach längerer Zeit die ganze Gabel mal wieder
"entspannt": alle Verschraubungen (Gabelbrücken, Rad, auch Gabelstabi) gelöst,
etwas "gebockert", und dann von oben nach unten (nur das Rad zuerst) wieder
angezogen. Denn insgesamt schien mir die Gabel auch schlecht anzusprechen -
vielleicht auch ein Grund für's Lenkerflattern? Das hätte ich mal zuerst
machen sollen ...

- Eine Testfahrt über eine extreme Buckelpiste und "freihändig" ergab denn
auch eine spürbare Verbesserung.
- Next step: Vorspannung wieder auf 70 mm. Aber das hat Zeit.
- Aber wie gesagt: der "Shimmy" hatte eine ganz andere Ursache.
|
 |
24 Liter Tank & Sitzbank & Rahmenheck & zugehöriger
Kofferträger (2002)
- eigentlich wollte ich nur den größeren Tank, weil dieser einfach
bulliger aussieht: besonders von vorne und oben finde ich den 19l-Tank
etwas mickrig, und auch von der Seite finde ich den 24l-Tank sehr viel
schöner. Die Proportion von Motor und Tank gefällt mir so viel besser. Siehe
Bildergalerie.
|
mit Lackierung 250€ |
- Aber: die Basic-Sitzbank paßt nicht dazu ..., also die andere
Sitzbank besorgen. Die Wunderlich-Bank ist für den Fahrer super,
ist auch länger & somit für Sozia bequemer, und der Bezug gefällt
mir gut. (Es ist nicht nur der "Henkel" oben am Tank, es ist auch eine
keilförmige Lücke zwischen Basic-Original-Sitzbank und 24l-Tank, die
beide das Auge beleidigen.)
|
ca. 150€ |
- diese Bank paßt aber nicht auf das Basic-Rahmenheck (Bank zu lang) ð
also das andere Rahmenheck
auch noch dazu (war glücklicherweise schon das richtige Blau) ...
|
ca. 60€ |
- das längere Heck hat gleichzeitig den stabileren & tieferen
Gepäckträger, der mir sowieso besser gefällt
|
 |
- jetzt passen die Basic-Kofferhalter nicht mehr: Befestigungspunkte
liegen jetzt weiter hinten
, was mit den Koffern dran schwerpunktmäßig ein Nachteil ist,
aber ok, geht nicht anders, also die Kofferhalter auch noch ...!
|
ca. 50€ |
- Fazit: so kann's mit Modellen gehen, wo es noch kein durchgängiges,
kostenoptimiertes, schon in der frühen Designphase durchgestyltes Baukastensystem
gab ...
- So gefällt sie mir einfach besser, auch wenn es ein paar Kilo
mehr bedeutet.
- Apropos: das Gewicht beträgt 220 kg mit knapp
halbvollem Tank (mit Personenwaage vorn und hinten gewogen)
Federbein: White Power gegen Öhlins (2005)
White Power - Serie bei "Basic"
- Das Federbein der Basic (ein an sich sehr gutes
White Power) ist gemessene 490 mm lang und somit 10 mm kürzer als die 500
mm langen Standard-Federbeine aller anderen
GS-Modelle und Baujahre.
- Dadurch verringert sich der Positiv-Federweg hinten um ca. 1,5 - 3 cm (diese Werte
ergeben sich je nach Vorspannung).
- das tiefer "hängende" Heck ist für mich ein optischer Nachteil.
Vgl. auch das Foto hier.
- um das Heck wenigstens ein wenig höher zu bekommen, muß man beim
White Power die Federvorspannung stark erhöhen, was wiederum
...
- den Komfort hinten auf schlechten Straßen verringert (im Gelände
stört es hingegen nicht so)
- der Negativfederweg wird dann zu klein: "Auskeilen" im
Gelände oder auf "Wellblech-Schotterstraßen".
- andererseits ergibt sich eine geringere Sitzhöhe: dies ist wirklich interessant erst
ab ca. 165 cm "Größe" abwärts
- Dadurch, daß bei der Basic das Heck tiefer liegt als bei allen anderen
GSsen,
läßt sich die Basic übrigens deutlich schwerer aufbocken, weil man mehr Weg ohne
Federunterstützung zu bewältigen hat.
Ich habe mir daher ein gebrauchtes, jedoch frisch überholtes Öhlins (ältere
Typbezeichnung "BM 8363", das mit der hydraulischen Federvorspannung,
heute wird dieses als 46 DRS bezeichnet)
besorgt und ein Experiment gemacht. Länge gemessene 500
mm. Ziele waren:
- das Heck etwas höher zu bekommen
- die Federbeine generell zu vergleichen
- die Kurvenwilligkeit durch steileren Gabelwinkel weiter zu verbessern
- last not least: die hydraulische Federbasis-Verstellung ist eine feine Sache
...!

Umbau
Der Wechsel hat so seine (wenn auch kleinen) Tücken:
- das Oberteil des Federbeins hat nicht genügend Freiraum zum Rahmen
hin.
 |
 |
|
White Power: genügend Freigang |
Öhlins: das "Eck" der
Federbeinaufnahme streift oben beim Einfedern |
Um das Problem zu lösen, kann man entweder am Rahmen
die Ecke abfeilen (so wird es in der Öhlins-Anleitung empfohlen) oder am Federbein.
Weil bei mir nur ganz wenig abzunehmen war, habe ich letzteres (mit einer Dremel) gemacht,
aber vorsichtig, man weiß ja nicht genau, wie dick das Material ist.
Mehr als 1 mm keinesfalls hier abnehmen, sonst besteht die Gefahr des
"Durchbruchs" mit Gasaustritt!
(Irgendwie erinnert mich das an die Logik von Silent
Hektik, nämlich nicht das Zubehör dem Fahrzeug, sondern das
Fahrzeug dem Zubehör anzupassen
. Wobei es hier plausibler erscheint,
denn das domförmige Oberteil ist bestimmt bei vielen Ausführungen
dasselbe (Baukastensystem).)
- auf den Bolzen am Winkeltrieb müssen die beiliegenden, sehr dünnwandigen Hülsen mit leichten Schlägen
geklopft werden, damit der Innendurchmesser des Bolzenauges und der
Lagerbolzen am Winkeltrieb nicht zu großes Spiel haben.
- Warum wird nicht gleich
das Bolzenauge des Federbeins passend gefertigt?
Das könnte man bei dem Preis eigentlich erwarten.
- damit es einem nicht so geht, wie dem armen Menschen
hier ,
sollte man diese Lagerstelle gut (also mit lange haltbarem Fett)
schmieren.
- hier war das Lager fest, und daraufhin hat es das untere Auge
abgeknickt... das Aufsitzen am Gepäckträger hat schlimmeres
verhindert!

- zur Schmierung dieser Stelle siehe
Anmerkung hier.
|
 |
- am Rahmen geht es eng zu, der Gepäckträger muß zur Montage an der Fußraste gelöst
und zur Seite gedrückt werden. Tip: erst unten am Winkeltrieb aufschieben, dann oben
einfädeln.
- Schmierung des unteren Lagers des
Federbeins: (dies stammt vom Betroffenen des obigen Bildes, er hat sich
mit der Materie beschäftigt...!)
- es genügt nicht, den Lagerzapfen am Hinterradantrieb zu schmieren, um
ein Fressen zu vermeiden. Obwohl das sicher nicht schadet, aber die
Mutter hält das untere Auge am Winkeltriebsgehäuse fest.
- Was man schmieren sollte, ist das eigentliche Lager im Alukörper des
Federbeins, was jedoch fast unmöglich ist.
- Erstens ist das Lager mit O-Ringen versiegelt, die man irgendwie
wegpopeln muss,
- zweitens hat das Lager keinerlei Vorrichtung, irgendwelches
Schmiermittel in die Nähe der Laufflächen zu bekommen.
- Wie man an der
SKF Bezeichnung erkennt, handelt es sich eindeutig um ein
"wartungspflichtiges" Lager, was uns Oehlins nicht erzählt!
- Am besten testet man das Lager bei jeder sich bietenden Gelegenheit
(z.B. beim Schwingenausbau) auf Leichtgängigkeit und wechselt es bei
Bedarf.
Verlegung des Hydraulikschlauches
- zumindest bei meinem Öhlins war die Verlegung des Hydraulikschlauches
etwas trickreich - dachte ich zumindest anfangs ... :
| der Schlauch musste über dem oberen Auge in die
Aufnahme im Rahmen gelegt werden (also bevor das Federbeinauge dort rein
rangiert wird), damit er nicht den Seitendeckel stört. Besser wäre es,
wenn der Abgang des Hydraulikschlauchs nach hinten ragen würde, Richtung Batterie.
Aber so geht es auch. Die hier erkennbaren Scheuerstellen am Hydraulikschlauch haben eine andere
Ursache
. Beim Einfedern wird die Situation entspannter und nicht noch
enger.
Am besten wäre es natürlich, man könnte das golden eloxierte
Teil einfach drehen.
Das hielt ich aber anfangs für nicht
möglich... siehe folgender Absatz.
|
 |
- Dieses Problem ließ sich erst später lösen:
- zunächst kam die Idee, einfach das Federbein um 180° um seine
Hochachse zu drehen, so daß dann der Abgang des Hydraulikschlauch
nach hinten / innen anstatt wie oben gezeigt nach vorne erfolgt. Das
Ventil zeigt dann aber entgegen der Anleitung
nach vorne. Bei dieser Ausführung ist es (bestätigt von Öhlins)
jedoch egal, in welcher Position das Federbein verbaut ist, da Öl
und Gas durch einen Trennkolben getrennt sind.
- Jedoch sind im Federbeinkopf oben zwei unterschiedliche Buchsen links
und rechts verbaut. Deshalb ist es nicht möglich, das Federbein um
180° verdreht zu montieren, da sonst die Freigängigkeit des
Federbeines nicht gewährleistet ist.
- Aber man kann das (golden eloxierte) Teil, in das der
Hydraulikschlauch mündet, gegenüber dem Rest verdrehen. Dies geht
aber wirklich schwer, außer man entlastet die Feder. Ansonsten fest
zupacken und dann "hgnniiiargh*!"
- ACHTUNG: das entsprechende Teil der NEUEN Federbeine kann man
NICHT verdrehen. Erkennung dieser neuen Federbeine:
- es fehlt die "Distanzhülse" aus Alu, die bei mir genau
hinter dem Rahmenrohr liegt (s. Bild oben)
- oberhalb des Teils, in das der Hydraulikschlauch mündet, sind
dafür gut 5 cm Gewindegänge sichtbar. Die Kronenmutter
"wirkt" (hingegen bei meinem Federbein hat diese
überhaupt kein Gewinde, da kann man drehen bis zum jüngsten
Tag)
- das Teil, in das der Hydraulikschlauch mündet, ist mit einem
Stift sichtbar gegen Verdrehen gesichert.
- hier die neuere Variante des Federbeins (Typ
46DRS),
erkenntlich an der fehlenden Zwischenhülse (Alu), stattdessen ca. 5
cm Gewindegänge oberhalb der Hydraulik-Verstelleinheit (gold eloxiert)
. Laut Datenblatt ist
übrigens dieses Öhlins nur 495 mm lang. Keine Ahnung, ob das stimmt.
|
 |
Montage des Vorspanners
|

|

|
- Hydraulik-Einstell-Element von innen am Heckrahmen (ggf. U-Scheiben)
verschrauben, sonst haben die Koffer keinen Platz
|
- Alternativer Ort für die Montage der Vorspanneinrichtung: ich
glaube nur, daß hier von oben her Schmutz reinkommt -> besser stehend statt
hängend montieren.
|
Messungen im Stand
| |
White Power (Serie Basic)
|
Öhlins BM 8363
|
|
Feder 698-24/8.0 ("Standard")
|
Feder 698-21/75
|
| Länge Federbein |
490 mm |
500 mm
(wie andere GS-Bj. Serie) |
| Vorspannung |
ca. 45% der Gewindelänge |
0% am Handrad |
| Gesamtfederweg |
165-160 mm**** |
180 mm (aus BMW-Daten) |
| Federdrahtdurchmesser |
12,45 mm |
12,3 mm |
11,75 mm |
| |
Rest
(err.) |
eingefedert |
Rest
(err.) |
eingefedert |
Rest
(err.) |
eingefedert |
| ohne Fahrer |
eig. Messung
(Empfehlung) |
115-120
mm |
45 mm |
27% |
150 mm |
30 mm* |
16%
(14%*) |
148 mm |
32 mm* |
17% |
| mit Fahrer |
eig. Messung
(Empfehlung) |
95,5-100
mm |
65-70
mm |
40%
(33%***) |
120 mm** |
60 mm** |
33%
(44%**) |
115 mm |
65 mm** |
36% |
| Fahreindruck |
genug Restfederweg für leichtes
Gelände, Handlichkeit gut, aber etwas hart auf Straßen.
|
im Stand härter
wirkend
später wieder darauf gewechselt |
s.
unten
Sitzhöhe gut 1 cm mehr als beim White Power |
- Fahrer: 173 cm, 72 kg
(im Jahr 2005 ...
)
- Anmerkungen zur Tabelle:
- "Rest (err.)" bedeutet: gemessen habe ich die Einfederung, daraus dann
den Restfederweg und die %-Werte errechnet
- * Öhlins empfiehlt 20-25 mm, in einer späteren
Unterlage 30 mm
- ** Öhlins empfiehlt 80 mm, bei weniger als 75 mm
eine weichere und bei mehr als 85 mm härtere Feder wählen.
Problematisch ist hierbei jedoch, daß dieser Wert ein absoluter ist und
unterschiedliche Gesamtfederwege nicht berücksichtigt. Im folgenden
wird die "Lehrbuchmeinung" = 1/3 bevorzugt.
- *** "Lehrbuchmeinung" = 1/3
- **** dieser Wert wird nirgends genannt, eigene Rückrechung aus
Meßwerten
- siehe hier zur Federrate allgemein,
und zu einem kleinen Rechenwerkzeug
im Besonderen !
Schlussfolgerungen aus der Messung / Maßnahmen
- das White Power gibt allein unter dem Maschinengewicht schon viel nach. Also noch mehr
vorspannen,
aber dann wird das Fahrgefühl noch härter ... weniger Negativfederweg ...
- White Power scheint deutlich progressiv zu sein: anfangs recht weich (s.o.), dann härter
werdend (mein zusätzliches Gewicht läßt es nur um 25 mm weiter einfedern).
- eigenartigerweise ist der Federdrahtdurchmesser beim WP am größten,
somit müßte es eigentlich schon auf den ersten cm recht hart sein (was es
dann hinterher durchs Vorspannen auch wird, aber eben nicht am Anfang.
Vielleicht weicheres Material als Öhlins?)
- die Standard-Öhlins-Feder ("698-24/8.0": 8.0 steht dabei nicht für "80
kg", sondern vermutlich für eine "Federrate" von 80 N/mm) ist offenbar für mich zu hart: sie gibt unter
meinem Gewicht zu wenig nach. Es ergibt sich sogar ein noch geringerer
Negativfederweg als beim WP,
dafür 2 cm mehr Sitzhöhe - und beides war nicht mein Ziel. Auch Öhlins
empfiehlt eher mehr Einsinken unter dem Fahrer (siehe Tabelle und Anmerkung
** oben).
- Konsequenz: gegen nächstweichere Feder eintauschen.
- nächstweichere Feder: 698-21/75
- nächsthärtere Feder: 698-26/8.5
- Erwartung bei der weicheren Feder:
- stärkeres Einsinken ohne Fahrer: ca. 35 mm
- Einsinken mit Fahrer um ca. 75 mm
|
 |
Wechsel auf weichere Feder "698-21/75"
- Messung mit weicherer Feder:
- nur wenig mehr Einsinken ohne Fahrer: ca. 32 mm statt 30 mm mit der
Standardfeder
- Einsinken mit Fahrer um ca. 5 mm mehr als mit der Standardfeder. Auch
mit dieser weichen Feder wird die Öhlins-Empfehlung von "80 mm
Einfedern unter dem Fahrer" nicht erreicht (s. dazu aber Anmerkung
**).
- aber die Hauptsache: wirkt beim Wippen im Stand erheblich weicher als
die Standardfeder, sogar weicher als das White Power (siehe
Federdrahtdurchmesser!)
- Setup: Zugstufe 14 Klicks (von "ganz zu" oder "ganz auf"
ausgehend? - muß ich nochmal nachgucken!)
- hier übrigens die Erklärung der
Ziffern auf den Öhlins-Federn, und die
Bedeutung der Buchstaben in der
Typbezeichnung (bei den neueren
Ausführungen)
Fahrverhalten Öhlins:
Bezug ist die offenbar für mein Gewicht passende Feder "698-21/75".
- fühlt sich mit dieser Feder im Stand erheblich weicher als mit der
Feder "698-24/8.0" an, sogar weicher
als White Power wirkend
- Sitzhöhe ca. + 1 cm gegenüber vorher mit dem White Power
- weicher auf schlechtem Belag, nicht mehr so "stuckerig"
- Hinterhand ruhiger auf "Wellblech"
- Kurvenverhalten unverändert: die Anhebung der Hinterhand hat nichts
merkbares geändert (was ich als Vorteil sehe)
- nach wie vor ist freihändig rollen ohne Flattern / Shimmy / Schlagen
von ca. 100 bis 40 km/h möglich
- infolge mehr Höhe späteres Aufsetzen (= bisher noch nicht
geschafft)
Alternativen
- Verlängerung des White-Power-Federbeins um 10 mm: ist z.B. bei FRS
möglich, kostet ca. 80-120 € (Auskunft April 2005).
Reparatur und Neu-Abstimmung (Jan. 2008)
- Auslöser: Ölverlust an der Dämpferstange
- Zur Reparatur an "TRP"
geschickt
- weil das Federbein dafür ohnehin zerlegt werden mußte, gab ich
zusätzlich den Auftrag, die Druckstufe etwas weicher abzustimmen. Vermutlich
hätte dies schon beim Wechsel der Feder gleich mit
erledigt werden sollen.
- Ergebnis: "warum nicht gleich so...?"

- wesentlich komfortablere Hinterhand
- ich kann nur empfehlen, das Federbein auf den eigenen Haupt-Lastfall
abzustimmen!
Zurück zur Original-Feder
- Übrigens habe ich anläßlich dieser Reparatur wieder die vorherige Feder
"698-24/8.0" einsetzen lassen. Diese habe ich zuvor blau pulverbeschichten
lassen - die gelbe Feder (als einziges gelbes Teil) hat mir nicht gefallen.
- Grund: ich vermutete (wie sich zeigte, zu Recht), daß die
Dämpfer-Druckstufe zu hart war, und nicht die Feder. Somit wäre beides
zusammen vermutlich zu weich geworden.
- zusammen mit der relativ weichen
Gabelabstimmung (wenig Vorspannung) paßt jetzt alles zusammen.
Weichere Vergaserfedern
- ein Freund beschwerte sich anläßlich eines Moppedtauschs auf einer Tour
über die Schwergängigkeit meines Gasgriffs - bei seiner Basic ging dieser in
der Tat dramatisch viel leichter. Das waren gefühlte 5 PS Mehrleistung!
- Das habe ich natürlich auch gleich machen müssen:
- statt der originalen Rückzugsfedern für die Drosselklappe kommen die
Federn mit der ET-Nr. 13547678224 zum Einsatz: diese kommen von der
R1200GS und deren Drosselklappen.
- Preis ca. 2€ pro Stück
- die Montage ist, wenn man die Vergaser nicht abbaut oder nach
auswärts dreht, ein echtes Gefummel.
- ferner empfiehlt es sich, das eine Ende der Federn etwas
aufzubiegen, denn diesen Federn fehlt das "lange grade" Stück der
originalen Federn (habe leider vergessen ein Foto zu machen).
- ich werde mal zu meinem Bing-Händler gehen und dann wühlen wir mal,
ob es nicht vielleicht noch besser geeignete Federn gibt.
-
Achtung:
wenn jetzt aber nicht alle Teile sehr leichtgängig sind, also ...
- die Bowdenzüge
- die Drosselklappen selbst
- der Gasgriff selbst (v.a. das Schleifen des
Gummis an der Armatur)
- und auch die Umlenkung und das Kettchen in der Armatur
- ... dann besteht das Risiko, daß sich der Gasgriff nicht von alleine
schließt, oder aber noch schlimmer, daß das Kettchen sich in der Armatur
in eine Schleife legt, und das Schließen der Drosselklappen verhindert -
Vollgas !
- also zur eigenen Sicherheit unbedingt regelmäßig durch "Vollgas im
Stillstand" prüfen. Bei laufendem Motor wird das ganze immer ein wenig
durchgeschüttelt, so daß "Hänger" im Fahrbetrieb unwahrscheinlicher
sind.
- Effekt: genial! Wie gesagt gefühlt 5 PS für 4€.
- sonstige Hinweise:
- bei den 40er Vergasern kann man den Drehwinkel am Gasgriff noch
durch Montage der Hebelchen aus den 32ern verringern
ð "Kurzhubgasgriff" (hatte ich
von Anfang an so gemacht)
Heizgriffe (2005)
Montage -
Schaltplan - Schalter original -
spezieller Lenkerschalter -
Griffgummis
- Abteilung: "früher als Dekadenz bezeichnet, heute nicht mehr missen
mögen"

- gebraucht gekauft, aber Original BMW Teile
- was mir gefällt: die Verlegung der Kabel innerhalb des Lenkers
- bestätigen kann ich das oft gelesene Statement: Stufe 2 ist schon fast zu
heiß, Stufe 1 ist eher schlaff.
- Teile-Nummern:
- Heizgriff GS/Basic links: 61 31 2300387, rechts 61 31 2300388, je 63,80
+ MwSt.
- Heizgriff RxxR links: 61 31 2300079, rechts 61 31 2300080, je 63,80 +
MwSt.
Hinweis zur Montage der Heizgriffe
- der rechte Griff ist bekanntlich der Gasgriff, und der wird munter
gedreht. Weil nun das Kabel des Heizgriffes an dessen Ende angebracht ist
und die Heizdrähte im Griffgummi, verlaufen also die beiden Einzelkabel +
und - ganz außen.
- Daher darauf achten, daß man den rechten Heizgriff nicht "bis zum
Anschlag" auf den Lenker schieben, und in dieser Position dann die Armatur
fixieren. Folgendes Vorgehen:
- Armatur-Klemmung lockern
- neuen Griff aufschieben bis zum Anschlag
- dann das ganze wieder etwa ~3 mm auswärts ziehen und so die Armatur
fixieren.
- Jetzt muß man nur dran denken, wenn einem die Kiste mal nach rechts
bis auf den Griff umfällt, dies erneut zu prüfen.
- Ansonsten passiert nämlich, was mir beim ersten Mal passiert ist: das
Lenkerende reibt solange innen am Griff, bis es eines der Kabel
(vorzugsweise das +) durchgerieben hat. Das gab dann bei mir einen nur
schwer lokalisierbaren
Kupferwurm.
- siehe dazu auch hier ein paar Bilder.
Funktionsweise der Stufe 1 und 2
Vorwiderstand
- die BMW-Heizgriffe werden bezüglich ihrer Heizleistung über einen
Vorwiderstand geregelt. Dieser Vorwiderstand ist bei
Stufe 1 in Reihe zu den beiden Heizgriffen geschaltet, bei Stufe 2 wird
er überbrückt. Die Heizgriffe
selbst sind in beiden Schalterstellungen parallel geschaltet. Der
Vorwiderstand ist als Widerstandsdraht in dem Teil des
Fahrzeug-Kabelbaums, der zu den Griffen führt, ausgeführt.
- bei Heizgriffen von Drittanbietern ist es oft so, daß in Stufe 1
die beiden Griffe in Reihe geschaltet werden, in Stufe 2 dann
parallel
- elektrische Daten:
- Widerstand eines einzelnen Griffes ca. 9 Ohm (diesen kann man messen;
allerdings ist die Messung so niedriger Widerstandswerte mit den
üblichen billigen Meßgeräten recht fehlerbehaftet)
- bei Parallelschaltung ergibt sich daraus ein Gesamtwiderstand von 4,5
Ohm für beide Griffe
- Vorwiderstand: ca. 2,8 Ohm
- Berechnung für Stufe 2: der Vorwiderstand ist überbrückt
- die Bordspannung sei 12,8 Volt
- ein bißchen Physik:
- (1) Spannung [Volt] = Strom [Ampere] * Widerstand [Ohm] oder das
bekannte "U=R*I" oder auch R=U/I
- (2) Leistung [Watt] = Spannung [Volt] * Strom [Ampere] oder
"W=V*A"
korrekter formuliert: P = U * I
oder auch I = P/U
- wenn nach (1) also Volt = Ampere * Ohm ist, dann gilt auch: Ampere
= Volt / Ohm
- das kann man in (2) einsetzen, dann ergibt sich: Watt = Volt *
Volt / Ohm
oder auch: P = U * U / R
- somit: Watt = 12,8*12,8 / 4,5 = 36 Watt in Stufe 2 (auf beide
Griffe verteilt)
ðStufe 2: 18 W Heizleistung pro Griff
|
 |
- Bei der Stufe 1 ist es etwas komplizierter zu berechnen (zumindest für
mich, dessen Schulzeit schon sehr lange zurückliegt...).
Hier sind 2 Widerstände in Reihe geschaltet:
- erstens der Vorwiderstand (ca. 2,8 Ohm)
- zweitens die beiden Griffe, die parallel geschaltet sind und die man
sich als einen Widerstand von 4,5 Ohm vorstellen kann
- Watt = (12,8*12,8) / (4,5 + 2,8) = 22 Watt Gesamtleistung -
aber auf den Vorwiderstand und auf beide Griffe verteilt !
- der Gesamtstrom ist also:
- aus (2) oben ergibt sich I = P/U
- P = 22W = (12,8*12,8) / (4,5 + 2,8) - hatten wir soeben berechnet
- U = 12,8V
- somit ergibt sich I = P/U bzw. in Zahlen (12,8*12,8) / (4,5 + 2,8) /
12,8 = 1,75 A
- diese 1,75 A fließen durch den Vorwiderstand - aber nicht mit 12,8
V, sondern mit weniger Volt:
- die Einzelspannungen bei Reihenschaltung verhalten sich wie folgt: U1
/ U2 = R1 / R2, und sie summieren sich zur Gesamtspannung: U = U1+U2
- hier also: 2,8 / 4,5 = 0,62, oder aber 12,8 V = 0,62*12,8 +
0,38*12,8 = 7,96V (für die Heizgriffe) + 4,83V (für den Vorwiderstand)
- somit wird die Leistung zu:
- Vorwiderstand: 4,83V * 1,75A = 8,46 W
- Griffe (beide!): 7,96V * 1,75A = 13,9 W
- (Kontrolle: Summe = 22 W)
- Langer Rechnung kurzer Sinn... :
ðStufe 1: 7 W Heizleistung pro Griff
- Wenn man
den Teil des Kabelbaums, wo der Vorwiderstand sitzt, nach einer Zeitlang in Stufe 1 (bei stehendem Fahrzeug) anfaßt, merkt man eine
sehr deutliche Erwärmung! Da also bleibt die
Energie. Es handelt sich also in Stufe 1 auch um eine
"Kabelbaumheizung".
- diese etwas archaische Funktionsweise mit dem Vorwiderstand könnte
durchaus verbessert werden. Ideen dazu siehe
hier
(lokale Kopie 2004) und
hier
(lokale Kopie 2004).
- siehe auch Schaltpläne.
Der Schalter für Heizgriffe
| Zunächst habe ich die Griffe über den Lenker-Schalter
"Original BMW" bedient. Dieser Schalter hat mir zum einen
wegen seiner Mofa-Optik optisch nicht gefallen, zum anderen wurde
öfters über die Lenker-Kartentasche unbemerkt die Stufe 1
eingeschaltet, was im Sommer meist unbemerkt bleibt, aber unnütz Strom
verbraucht. Zum Dritten muß man zum Umschalten eine Hand vom Lenker
nehmen. Das alles hat mich gestört. |
 |
Rückseite des Schalters und Kabelbelegung:
- rot: Stufe 1
- braungelb: Eingang 12 V
- braun: Stufe 2 |
 |
Umbau auf Lenkerschalter
- der hier beschriebene Umbau geht nur bei der R 80 GS Basic. Bei den
anderen Modellen ist der rechte Lenkerschalter bereits "belegt".
- Nachtrag 2014: mit diesem Schalter habe ich das auch bei der
HPN wieder gelöst,
allerdings andere Stecker.
Benötigte Teile:
- rechter Lenkerschalter ab Bj. 91 mit dem Lichtschalter
|
 |
- hier zum Vergleich der originale rechte Lenkerschalter der
Basic: kein Lichtschalter drin, denn das Licht wird über das Zündschloß betätigt
|
 |
- 3 Pins zum Einsetzen in die leeren Steckplätze am
Hauptkabelbaum-Stecker, der das Gegenstück zum Stecker des rechten
Lenkerschalters darstellt
|
habe leider vergessen ein Foto zu machen, aber hier
sieht man sie ...
diese Pins waren gar nicht so einfach zu bekommen: bei BMW nicht
einzeln erhältlich, nur HPN konnte
helfen |
Montage dieses Schalters:
- Lenkerschalter rechts austauschen
- am Kabel des Heizgriff-Schalters "Original BMW" den 3-poligen
plus ca. 10 cm abzwicken (sonst muß man den Stecker am Hauptkabelbaum
ersetzen, und das wollte ich nicht, weil dort das rausguckende Kabel auch
recht kurz ist)
- an diese 3 Kabel die 3 obengenannten Pins anbringen (diesen Arbeitsschritt
habe ich
vergessen, zu fotografieren ...).
- jetzt kommt das wichtigste: wo muß welcher Pin in den Stecker des
Hauptkabelbaums eingerastet werden, damit die Betätigung des Lenkerschalter
Sinn ergibt:
| Schalterstellung |
Wirkung |
| 0 |
Heizgriffe aus |
| 1. Rastung |
Heizgriffe Stufe 1 (leicht
warm) |
| 2. Rastung |
Heizgriffe Stufe 2 (volle
Leistung) |
-
Belegung und "Bedeutung":
Achtung, diese Angaben sind ganz besonders ohne Gewähr, weil ich das
Gefühl nicht loswerde, da beim Protokollieren durcheinander gekommen zu
sein!
| |
Kabelfarben des Original - Heizgriff-Schalters
am Lenker (bzw. seines Steckers) |
Pin-Nr. des Lenkerschalters rechts
(normalerweise für Licht vorgesehen)
(Siehe Foto unten) |
Gegenstück zum Schalter am 3-poligen
weißen Stecker des Heizgriff-Kabelbaums |
| Stufe 1 |
rot |
3 |
Orange |
| Eingang 12 V |
braungelb |
7 |
grünschwarz |
| Stufe 2 |
braun |
4 |
schwarz |
-
hier der Stecker des
Hauptkabelbaums, der mit dem rechten Lenkerschalter verbunden wird, und in
den die 3 Pins von der Rückseite her eingerastet werden. Die Nummern sind
im Kunststoff eingeprägt. Dies ist der Zustand VOR dem Einsetzen der Pins.
(Nachher habe ich leider kein Foto gemacht.)

-
Beim Einsetzen der Pins muß man
übrigens gut darauf achten, daß sie wirklich einrasten! Also kräftig
drücken! (Was übrigens nicht einfach ist: man braucht einen dünnen
Schraubenzieher, der vorne stumpf ist.) Das Einrasten war nämlich bei mir
nicht geschehen, was zu einem Wackelkontakt führte und mir ...
-
des öfteren kalte Finger,
plus schlechte Laune eingetragen hat, was dann die Finger gleich noch
kälter werden läßt 
-
und zusätzlich eine
ziemliche Fehlersuch-Orgie
:
ich habe zunächst andere Steckverbindungen im Verdacht gehabt, diese
auseinander gefummelt, deren Stecker leicht plattgequetscht, damit sie
mehr "Druck" haben, und liebevoll gefettet, habe Dutzende von
Kabelbindern vernichtet, den Lenkerschalter 2x demontiert (man glaubt
nicht, was da für kleine Federchen und Kügelchen rausfallen und
irgendwo in der Garage verschwinden...
),
dann schließlich einen neuen (!) gekauft und dann sah ich es
- die 3 neu eingesetzten Pins waren beim ersten Zusammenstecken nach
hinten gedrückt worden ...
-
Soweit zum
"Kupferwurm"
.
Zurück zum Thema.
-
Hier das Gegenstück, also das
Ende des Kabelstücks des rechten Lenkerschalters: auch hier kann man die
eingeprägten Nummern sehen. Belegung siehe oben.

-
Anmerkung: am Stecker des
originalen Basic-Lenkerschalters sind die Kontakte 3,4 und 7 nicht leer,
sondern eigenartigerweise mit "Dummy-Kabeln" alle miteinander
verbunden. Wozu das, weiß ich nicht. Diese "Dummy-Kabel" erkennt
man auf diesem
Foto.
- die beiden "dicken" Stecker verbinden und den kleinen 3-poligen
Stecker in dessen Gegenstück am Hauptkabelbaum stecken.
- Funktionsprobe!
- Kabel mit Binder fixieren etc. - fertig!
Heizgriffe - Griffgummi und Innenleben
 |
ï Griffgummi abgepellt: hier sieht
man schön die Endkappe, wo man aufpassen muß, daß sie nicht am
Lenkerrohr schleift |
 |
| ñ oben sieht man links
das erforderliche Spiel, rechts ist das Spiel durch Reindrücken
eliminiert |
| ò unten wird der Griffgummi neu
aufgeklebt |
ò ... und zum Trocknen fixiert. |
 |
 |
- hier eine primitive Handskizze eines Schnittes durch das rechte
Lenkerende (äh, seitenverkehrt oder von vorne betrachtet):

- Blau der Lenker
- gelb die Griffe
- orange die "Heizschicht" in den Griffen (den Unterschied zwischen
"harter innerer Trägerhülse" der Griffe und "äußere Gummischicht" habe
ich wegglassen)
- grün das Kabel, was innerhalb des Lenkers läuft. Es geht ziemlich
genau mittig in den Griff über, und innerhalb des Materials trennen sich
dann die + und - Litze. Siehe Bild oben.
4-Kolben-Bremssattel
- (Datum: 13.04.2006)
- Hierfür gab es 2 Auslöser:
- die nicht lösbare Problematik mit dem
großen Leerweg und dem "Federn"
(hatte aber mit dem Bremssattel nicht zu tun, wie sich zeigte)
- im April 2006 konnte ich nach mehreren Vollbremsungen, die ich
trainingshalber und bergab hintereinander ausgeführt habe, den Hebel bis
zum Griff ziehen, ohne daß ich das Vorderrad zum Pfeifen bringen konnte
.
An sich war ich bis dahin mit der Bremsleistung nicht unzufrieden.
- alles weitere zum Umbau ist auf "powerboxer.de"
bestens dokumentiert, speziell das Abnehmen von ca. 3,5 mm Material an der einen
Seite.
- Gewichtsvergleich:
- 2-Kolben-Sattel mit Belägen: 1216 g
(Messung von jemand anderem: 1242 g)
- 4-Kolben-Sattel ohne Beläge: 968 g, diese dürften ca. 200 g wiegen
(Messung von jemand anderem: 1142 g inkl. Belägen)
- der 4-Kolben-Sattel ist demnach also 300 g leichter!
- Bestätigung siehe unten.
- TÜV-Eintrag war übrigens
problemlos.
|
 |
- Effekt: keine Revolution, aber um das Rad zum Pfeifen zu bringen,
braucht man jetzt fühlbar weniger Handkraft als vorher. Von einer
2-Finger-Bremse ist man aber immer noch Meilen entfernt!
- genauen Beobachtern wird auffallen, daß dieser 4-Kolben-Bremssattel
eigentlich "verkehrtrum" montiert ist:
- oft sind die 2 Paar Hydraulikkolben etwas unterschiedlich groß. Wenn dem
so ist, dann sollte an sich der "auflaufende" (der in Drehrichtung erste)
Bremskolben der kleinere der beiden sein, um die "ablaufende" Belagseite
etwas stärker anzupressen.
- diese Asymmetrie ist auch bei den BMW/Brembo-Bremssätteln so - siehe
Foto!
- Weil jedoch der Bremssattel nicht wie an den Fahrzeugen, von denen er
stammt, hinter der Gabel montiert wird, jedoch an den 2V-GSsen vor der Gabel
(und hier der linke nach rechts), ist es hier umgekehrt.
- das ganze ist aber nicht weiter tragisch. Man nimmt lediglich in Kauf,
daß die Bremsbeläge etwas schräg abnutzen, und zwar stärker an der Seite,
die dem Gabelholm zugewandt ist. Das ist die schlechter einsehbare! Also
dort genau hinschauen! Wenn von vorne sichtbar noch 2 mm Belagstärke
sichtbar ist, dann werden es hinten nur noch 1 mm sein.
Passende Bremssättel (Teilenummern)
| Teile-Nummer |
li./re.** |
Fahrzeug |
Montage bei GS |
| 34112331627 |
links |
R100R (& Mystic), R1100RS,
K1100LT,
K1100RS |
Einzelscheibe (original nur rechts) |
| 34112331628 |
rechts |
R100R (& Mystic), R1100RS,
K1100LT,
K1100RS |
nur bei Doppelscheibe |
| 34112333111 |
links |
R1100GS, R1100RT, R1100R |
Einzelscheibe (original nur rechts) |
| 34112333112 |
rechts |
R1100GS, R1100RT, R1100R |
nur bei Doppelscheibe |
**Beachten: "links" und "rechts" bezieht sich hier auf das
Herkunfts-Fahrzeug. Dort sind die Sättel hinter dem Tauchrohr
montiert.
Weitere Teilenummern, Preise und Gewichte
|
Modell |
BJ |
Teil |
Nummer |
Preis |
Gewicht [kg] |
|
|
K1100 LT |
1991 |
Bremssattel ohne Belag links D=32/34MM |
34 11 2331627 |
285,78 |
1,240 |
Gewichtsangabe kann nicht stimmen! |
|
R100R |
1991 |
Bremssattel ohne Belag links D=32/34MM |
34 11 2331627 |
285,78 |
1,240 |
Gewichtsangabe kann nicht stimmen! |
|
R1100GS |
1998 |
Bremssattel ohne Belag links D=32/34MM |
34 11 2333111 |
245,09 |
0,942 |
Gewicht geprüft - Angabe stimmt |
|
K1100 LT |
1991 |
Bremssattel ohne Belag rechts D=32/34MM |
34 11 2331628 |
285,78 |
1,240 |
Gewichtsangabe kann nicht stimmen! |
|
R100R |
1991 |
Bremssattel ohne Belag rechts D=32/34MM |
34 11 2331628 |
285,78 |
1,240 |
Gewichtsangabe kann nicht stimmen! |
|
R1100GS |
1998 |
Bremssattel ohne Belag rechts D=32/34MM |
34 11 2333112 |
245,09 |
0,942 |
Gewicht geprüft - Angabe stimmt |
|
K1100 LT |
1991 |
Dichtungssatz Bremssattel |
34 11 2331631 |
50,16 |
0,150 |
|
|
R100R |
1991 |
kein Rep.-Satz gelistet, obwohl gleicher Bremssattel wie K1100LT |
|
|
|
|
|
R1100GS |
1998 |
Dichtungssatz Bremssattel |
34 11 2331631 |
50,16 |
0,150 |
|
|
K1100 LT |
1991 |
Satz Bremsbeläge |
34 11 7663764 |
49,65 |
0,288 |
|
|
R100R |
1991 |
Satz Bremsbeläge |
34 11 7663764 |
49,65 |
0,288 |
|
|
R1100GS |
1998 |
Satz Bremsbeläge |
34 11 7658156 |
35,75 |
0,238 |
|
|
R80GS Basic |
1996 |
Bremssattel rechts D=48MM |
34 11 1454186 |
417,00 |
1,246 |
|
- Auffälligkeiten:
- Gewicht und Preis: der 1100er Sattel wird als leichter und billiger
angegeben, dasselbe gilt auch für die Beläge ...?
- den Gewichtsunterschied zwischen den verschiedenen 4-Kolben-Zangen
werde ich bei Gelegenheit nachwiegen.
Bremsbeläge
- passende Bremsbeläge für meinen 4-Kolben-Bremssattel: Lucas MCB 621 SV (Sintermetall),
oder Brembo 07BB2207 (FA 170). Achtung: die meisten 4-Kolben-Bremssättel (so auch die von der "Mystic")
haben laut Katalog die Nr. MCB 680 SV.
- Die Katalogangaben der beiden Hersteller Lucas und Brembo (letzteres
entnommen aus dem Polo-Katalog 2009) stimmen übrigens nicht überein. Sehr
merkwürdig.
Für mich erscheinen die Polo-Angaben insgesamt stimmiger, weil sie besser zu
den og. BMW-Teilenummern passen.
- Es gibt wirklich mechanische Unterschiede der "4V"-Bremssättel, die zu den ug. Bremsbelägen gehören.
Vermutlich (gemäß einigen Aussagen im Netz)
ist es jedoch so, daß beide Belagvarianten passen - bzw. passend gemacht
werden können. Tip: besser die genau passenden kaufen.
- ich selbst habe an meiner neuen 2V-Q eine Doppelscheiben-Anlage, ein
Bremssattel hat die Nase, der andere nicht. Ich habe in beiden die "MCB680"
montiert, also die mit der Einkerbung - paßt.
 |
 |
Lucas-Katalog-Angaben: R 80 R, K 1100 RT, K
1100 LTS
(R100 fehlt ...?, eine "K 1100 LTS" gibt es nicht) |
Lucas-Katalog-Angaben: R 100 R/Mystic, K 1100 LT/RS,
R 1100 GS/R/RS/RT, R 1150 GS (bis 2001), K 1200 LT/RS |
 |
 |
| Brembo-Nr. 07BB2207 (FA 170) =
Polo-Art.-Nr. 50100205210: für die R100R und die
K1100er (R80R wird nicht
erwähnt, ist aber wie R100R) |
Brembo-Nr. 07BB2407 (FA 246/407) = Polo-Art.-Nr.
50100205240: sind laut Polo für die R1100er
Modelle |
HE-Bremsscheibe (320er)
- Juni 2009: nach ~50.000 km ist die Original-Bremsscheibe auf 4,4 mm
runter und muß ersetzt werden.
- aus diesem Anlaß habe ich das an sich günstige Angebot von
HE-Bremstechnik ausprobiert: eine 320er Bremsscheibe (inkl. Adapter für den
Bremssattel und ABE) für ~230€. An den Adapter paßt natürlich auch der
og. umgearbeitete 4-Kolben-Bremssattel.
- Montage: problemlos.
- Gewicht (Stichwort ungefederte Massen): ziemlich genau wie die originale
Scheibe (inkl. Träger): ca. 1,7 kg - von daher also kein Vorteil. Zuzüglich
allerdings ca. 200 g für den Alu-Adapter für die Bremszange.
Status: wieder abgebaut !
- Grund: entweder unerträgliches Quietschen / Dröhnen, jedoch gute
Bremsleistung oder aber mäßige Bremsleistung (so wie Original)
Gründe / Erklärung
- 1. Konfiguration: 4-Kolben-Bremssattel, Sintermetall-Beläge Lucas MCB 621 SV.
- Effekt:
- gute Bremsleistung, deutlich besser wie die originale 285er
Bremsscheibe
- aber unerträgliches Quietschen / Dröhnen, lauter werdend,
je stärker gebremst wird. Vibrieren bis in den Lenker. Unfahrbar.
- Bremskolben waren freigängig, korrekt "eingebremst", spezielle
Kupferpaste verwendet, usw.
- 2. Konfiguration: 4-Kolben-Bremssattel, "organische"
Bremsbeläge Brembo
FA170 (grüner Belagträger). Diese Beläge wurden in div. Foren als diejenigen
empfohlen, die am wenigsten zum Quietschen neigen, speziell mit der 320er
von HE.
- Effekt:
- das Dröhnen ist weg, nur noch relativ leichtes Quietschen ab
mittlerer Bremsleistung. Aber immer noch nicht geräuschfrei!
- aber: erheblich geringere Bremsleistung. Die Bremsleistung liegt
jetzt auf dem Niveau der Serien-Scheibe. So habe ich mir das nicht
vorgestellt !
Fazit
- Ersatz durch eine 285er Bremsscheibe von Spiegler: hier wird die
originale Scheibe überarbeitet, auf den originalen Träger wird eine neue
Stahl-Scheibe (kein Grauguß)wiederum schwimmend aufgenietet. Kosten ca. 160€
inkl. Versand, also noch günstiger als bei der HE.
- Bremsleistung mit den Lucas-Sintermetall-Belägen wie bei der
originalen 285er, kein Quietschen.
Doppelscheibe
| Teile-Nummer |
Bezeichnung |
|
| 31421458062 |
R100GS Tauchrohr rechts (mit Aufnahmen) schwarz |
|
| 31421458224 |
R100GS Tauchrohr rechts (mit Aufnahmen) gelb |
|
| 31421458061 |
R100GS Tauchrohr links schwarz |
|
| 31421458223 |
R100GS Tauchrohr links gelb |
|
| |
|
|
- Links:
Powerboxer1 und
Powerboxer2
- Nachteil: Gewicht / ungefederte Masse!
- Bremsscheibe R 80/100 GS, D = 285 mm, schwimmend: 1.706 g
- 1 weiteren Sattel: 1142 g (4-Kolben-Sattel)
- Radgewicht: 21 Zoll Kreuzspeiche (ohne Bremsscheibe und Reifen) = 6,1
kg, Reifen ca. 5 kg
- Saldo somit:
- Serie: 6,1 + 5 + 1 x (1,2 + 1,7) = 14 kg
- Doppelscheibe: 14 + 1,2 + 1,7 = 16,9 kg = ein Plus von 20%
- Neuer Hauptbremskolben nötig: Serie ist 13 mm, bei entweder zwei
Original-Bremssätteln (Kolben 48 mm) oder zwei 4-Kolben-Bremssätteln (Kolben
32/34 mm) sollte es ein 15er werden - sonst paßt das hydraulische
Übersetzungsverhältnis nicht mehr (zu wenig Kraft nötig - zu wenig
"Förder-Weg")
Vollständige Absicherung des Kabelbaums
- Oktober 2007: damit mir nicht ein
Kabelbrand wie hier (hier die
lokale Kopie davon)
passiert, habe ich beschlossen, den serienmäßig unabgesicherten Teil
des Kabelbaums auch noch abzusichern, und zwar unmittelbar an der
Batterie. (Das dicke Plus-Kabel zum Anlasser kann man nicht
absichern.)
|
- Im Link oben bzw. der Kopie davon wird die Problematik
beschrieben. Hier ein von obiger Webseite kopiertes Bild mit den
unabgesicherten Teil des
Kabelbaums. Ich habe das ganze nicht weiter geprüft.
|
- Da es aber auch in meinem Freundeskreis einen gibt, dessen Q mal
sehr deftig nach Ampere gerochen hat und danach größere Aktionen
fällig waren, war mir das genügend Handlungsbedarf.
|
 |
- Benötigte Teile:
- Sicherungshalter für normale Auto-Stecksicherungen vom
Boschdienst (~2€)
- ca. 20 cm Kabel Querschnitt mindestens 2,5 mm
- 2 Kabelschuhe Stecker, 1 Schrauböse
- Schrumpfschlauch 5 mm für über die Stecker
- 20 oder 30 Ampere Sicherung: 20 sollten ausreichen, habe mir
sicherheitshalber noch eine 30er hinzugelegt. Ersatzsicherungen
nicht vergessen!

- Lötkolben, Heißluftfön für Schrumpfschlauch
- Ich habe alle Stecker / Kabelschuhe akkurat verlötet und alles
mit Schrumpfschlauch isoliert.
- man könnte auch den Sicherungshalter auf die Luftfilterdeckel
schrauben / kleben, dann wäre es noch "ordentlicher", aber stört
dann beim Luftfilterwechsel
- Meine Meinung: Elektrikprobleme - nein danke. Die haben
üblicherweise einen sehr hohen "Ärgerkoeffizienten" oder
Wirkungsgrad: kleinste Ursache ð
Riesentheater. (Sehr beliebt sind ja z.B. durchgescheuerte Kabel
infolge schlampiger
Verlegung.)
|
 |
|
|
Lampen: Fassungen
| Ort |
Leistung |
Sockel |
Bemerkung |
| Beleuchtung Drehzahlmesser / Uhr |
2W |
Bajonett BA7S |
gibt's auch in 1,2W |
| Ladekontrollleuchte |
3W |
Glassockel T10 (W2,1 x 9,5d) |
5 mm breit => T5 (W2 x 4,6d) |
| Blinkerkontrolleuchte |
3W |
Glassockel T10 (W2,1 x 9,5d) |
62141244727 |
| Leerlaufkontrolleuchte, Öldruck,
Fernlicht |
2W |
Bajonett BA7S |
gibt's auch in 1,2W |
| Tachobeleuchtung |
4W |
Glassockel T5 (W2 x 4,6d) |
? => eher T10 (W2,1 x 9,5d) |
| Standlicht |
4W |
Bajonett BA9s |
|
| Rück/Bremslicht |
5/21 W |
Bajonett BAY15d |
|

Motorschutz-Verlängerung (2005)
- Original-BMW-Teil. Weil die
Federn des Hauptständers relativ
schwach sind, und daher der Hauptständer ohnehin bei starken
Bodenwellen nach unten pendelt, habe ich die Aluplatte durch Bohrungen
gewichtserleichtert. Außerdem sieht es cool aus ...
Zur Schutzwirkung: nach der Alpentour 2005 habe ich in diesem Teil
eine tiefe Macke entdeckt. Das muß ein ziemlich großer Brocken
gewesen sein (ich hab's nicht mitbekommen), der ansonsten wohl eine
deftige Delle in den Sammler gehauen hätte.
Eckige Ventildeckel (2004)
- nach all den Erfahrungen anderer Leute mit den runden, die schnell
ein Loch haben sollen...
- Die eckigen haben allerdings eine Eigenheit: es läuft ein
Hohlraum voll Wasser, was dann langsam und zischend wieder verköchelt.
Daher hab ich eine Ablaufbohrung
eingebracht.
Hochgelegter Bremshebel hinten
|
 |
Hauptständer-Federn
- die Federn des Hauptständers sind relativ schwach, und/oder die
Geometrie ist irgendwie ungünstig - jedenfalls pendelt der Hauptständer
schon bei starken Bodenwellen nach unten, und setzt manchmal hörbar auf. Ist
nicht allzu gefährlich, weil der sofort wieder nach oben gestoßen wird -
aber unschön.
- Wenn die Federn mehr nach oben ziehen würden, z.B. dadurch, daß die Ösen
am Hauptständer weiter unten angebracht wären (bezieht sich auf die
hochgeklappte Position), dann wäre die Sache auch schon besser. (Hier fehlt
jetzt eindeutig eine Skizze mit dem Kräfteparallelogramm, aus dem dann die
Federkraftkomponente, die den Hauptständer nach oben zieht, hervorgeht.)
- eigenartig ist, daß die Hauptständer einiger anderer GS'en sehr viel
strammer oben gehalten werden - habe die Ursache noch nicht rausgefunden
- Alternative: andere Federn. Müssen entweder kürzer oder härter sein. Die
Haken müssen beide "parallel" sein, nicht um 90° verdreht. Und es muß an
einer Seite ein "Hals" von ca. 3 cm wegen der Engstelle zwischen Rahmen und
Ölwanne sein.
- Hier ein paar Federn von anderen BMW's.
- Aktuell verbaut sind diese hier: 46522331805 (L=111MM)
- Der ETK listet komischerweise auch noch folgende für die R80/100GS
auf, aber die sind auf jeden Fall zu lang: 46522301583 (L=143MM)
- R100S: 46521234514 - Up to 09/1980
- R100RS: 46521236282 (L=97MM) - From 09/1980 to 01/1982
- R1100GS und S: 46522314780
- R1150GS: 46532345275 und 46522345456 (2 verschiedene...?)
- R1200GS bzw. R: 46527664706 (D=10) 46537666528 (D=18)
- 1200R: 46527699005 (D=15)
- Problem ist noch offen (April 2008)
Stahlflex-Bremsleitung (2004)
- Stahlflex vorne einteilig (ohne "Röhrchen").
- Hauptvorteil der einteiligen Leitung: Optik, und jetzt kann man den Kotflügel
ohne Probleme wechseln.
- Ansprechverhalten und Dosierbarkeit ist im Grunde gleich geblieben.
"Wunder" kann ich nicht bestätigen. Großer Leerweg am Hebel ist leider ebenso
geblieben (ð
Entlüften).
Kleinkram
Ölthermometer (Meßstab):
- zeigt schnell 120-130 Grad an, max. war 145°. Prinzip im 5. Gang: ab
100 km/h ist Öltemperatur = Geschwindigkeit. Trotz Serienzustand
800 cm³, 50 PS.
- Die XT hatte max.
110° (die hat halt Trockensumpfschmierung). Allerdings ist wohl auch die
Stelle, an der mit dem Meßstab die Temperatur genommen wird, so
ziemlich die heißeste Stelle überhaupt. Bei der XT wurde im Öltank (=
Rahmenrohr = Ölkühler) gemessen und nicht im (nicht vorhandenen) Sumpf. Somit sind
die beiden Werte nicht voll vergleichbar.
- sind also 145°C bedenklich ? Siehe hier zu einer
Tabelle mit Öltemperaturen
bei der 1100er.
Schutz"blech" vorn
- tiefes Schutz"blech" vorn:
wird für Offroad-Urlaube gegen das hohe gewechselt (jetzt problemlos wegen
einteiliger Stahlflex)
Spritzschutz-Verlängerung vorne
- wie an allen meinen Moppeds, habe ich auch an der Basic den
vordern Kotflügel verlängert. Hierfür hatte ich anfangs dickes
Gummimaterial verwendet. Weil dies aber immer wieder nach vorne
schwingt und dann zwischen Reifen und Kotflügel geräuschvoll
eingeklemmt wurde, habe ich irgendwann nach steiferem Material
gesucht. Und bei Obi in Gestalt eines "Baueimers" gefunden:
Kostenpunkt 1,99.

- Schablone aus Pappe - dann Stück aus dem Eimer ausschneiden.
Netterweise hat der Eimer schon "die eine" Kontur, mit einem Heißluftfön
kann man ihm einfach auch noch die zweite Krümmung verpassen - fertig!
- ein Eimer reicht für 3 oder 4 solche Stücke - also 50 Cent für
einen. Ein einschlägig bekannter Händler ruft übrigens für diese
Funktionalität satte 34,90€ auf
...
|
 |
Windschild
- ach ja, das Windschild: habe ich sofort abmontiert. Grund:
scheußliche Verwirbelungen am Helm. Ich bevorzuge volle Pulle ehrlichen
Gegenwind (und eben
nicht: volle Dröhnung).
---inhaltsverzeichnis ok 18.05.2013---